Skanroc
Solutions inspired by your ideas and our experience
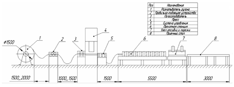
Equipment
Decoiler
1 pc;
Straightening device
1 pc;
Feeding device
1 pc;
Press-stamp
1 pc;
Roll forming mill
1 pc;
Cutting device with bending
1 pc;
Receiving table
2 pcs.
Control cabinet
1 pc;
Options
- Fences, sensors, cameras of critical areas, monitors;
- Tracking module (Operation, maintenance, simple, remotĕ access, statistics. Tracking of the line by the management.);
- Logistics and packaging.
Description
The lines are designed for the production of metal profiles of the Scanrock system (vertical and horizontal) from thin sheet steel 1.5 mm thick. Scanroc is one of the best ventilated facade systems designed for facade insulation and facade finishing.
Specifications
Processed material
Galvanized sheet steel
Thickness of the processed material
1,5 mm.
Productivity
8 run. m. /min
Workpiece width
According to drawing
Type of straightening device
Electromechanical, five-roll
Feeding device type
Electromechanical servo drive
Accuracy of feeding
0,05 mm
Force of a press-stamp
63 tf
Number of double strokes of the press stamp
80 pcs/min
Roll Forming Mill Type
Rack
Control cabinet
Provides automatic operation of the line after filling the material into the roll forming mill, equipped with a frequency converter
Operating personnel
2 persons











